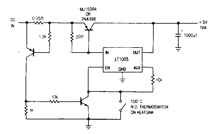
Encontrado en un documento de Linear Technology de los años 90, este circuito utiliza componentes de esa época. El transistor debe tener un buen disipador de calor.
La finalidad del circuito presentado en la figura 1 es simular un diodo zener de potencia cuya...
Este circuito puede servir para el desarrollo de un enlace óptico de audio o incluso digital de muy...
Damos un proyecto de una alarma de 1 transistor, y de bajo consumo de energía, para residencias y...