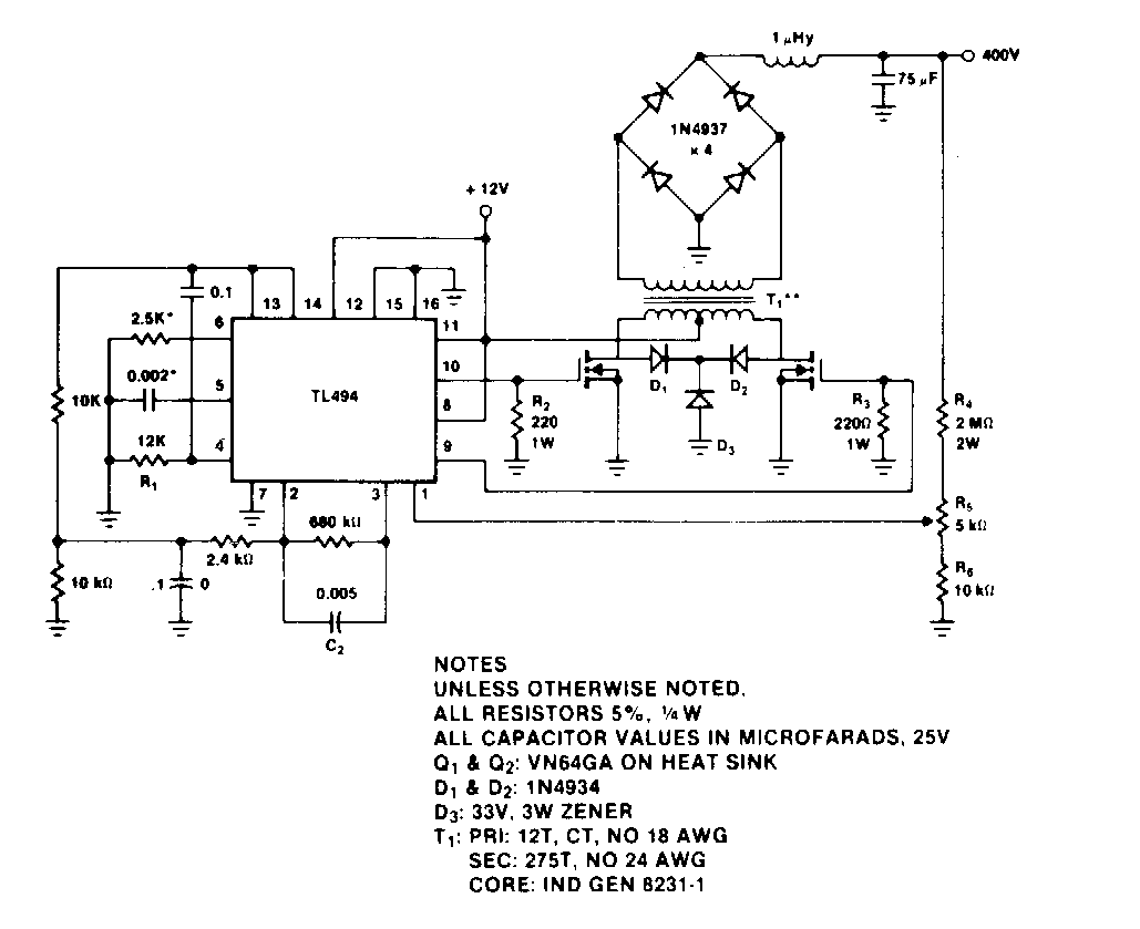
Encontrado en la documentación de Siliconix de los años 90, esta fuente de alimentación de alta tensión utiliza componentes de esa época. Los MOSFET pueden ser equivalentes actuales.

 

Fuente de alimentación de 400 V x 60 W
Fuente de alimentación de 400 V x 60 W | Haga click en la imagen para ampliar |