Encontrado en una Popular Electronics de los años 90, este circuito permite seleccionar los rangos de operación entre ondas cortas y VHF. MOSFET es poco común hoy.

Antena activa seleccionable
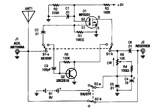
Encontrado en una Popular Electronics de los años 90, este circuito permite seleccionar los rangos de operación entre ondas cortas y VHF. MOSFET es poco común hoy.
