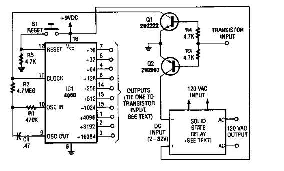
Encontrado en una Electronics Now desde la década de 1980, este circuito utiliza componentes comunes. Los transistores son de propósito general. El circuito puede actuar como un shield.

Relé de retardo de tiempo
Encontrado en una Electronics Now desde la década de 1980, este circuito utiliza componentes comunes. Los transistores son de propósito general. El circuito puede actuar como un shield.
