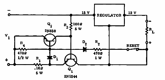
Este circuito se encontró en un manual de Motorola de 1965. Con transistores equivalentes modernos se puede aplicar a casi cualquier regulador.

Fusible electrónico
Este circuito se encontró en un manual de Motorola de 1965. Con transistores equivalentes modernos se puede aplicar a casi cualquier regulador.
