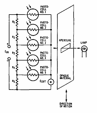
Este circuito se obtuvo de la documentación RCA de la década de 1970. El circuito utiliza LDR como sensores. Los resistores dependen del convertidor A / D utilizado. El circuito se puede usar como shield.

Indicador de posición de apertura
Este circuito se obtuvo de la documentación RCA de la década de 1970. El circuito utiliza LDR como sensores. Los resistores dependen del convertidor A / D utilizado. El circuito se puede usar como shield.
