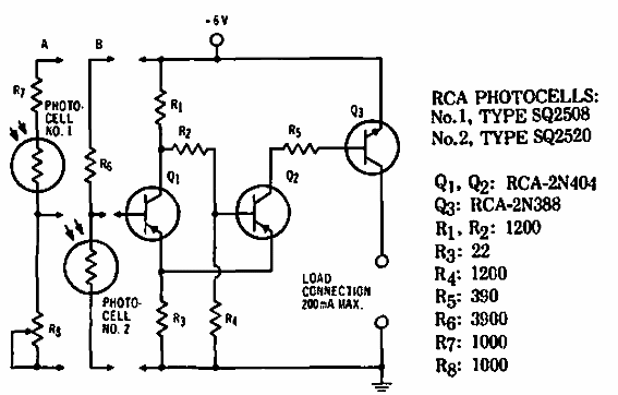
Encontramos este circuito en una publicación antigua de RCA. Los componentes son de la época, admitiendo equivalentes. El circuito se dispara de dos maneras usando LDR.

Disparador Schmitt de 6 V
Encontramos este circuito en una publicación antigua de RCA. Los componentes son de la época, admitiendo equivalentes. El circuito se dispara de dos maneras usando LDR.
