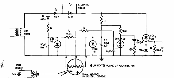
Este circuito activa una puerta de garaje por los faros del automóvil o la linterna. El circuito es de una documentación de 1967, haciendo uso de componentes de época.

Fotocontrol para puerta de garaje
Este circuito activa una puerta de garaje por los faros del automóvil o la linterna. El circuito es de una documentación de 1967, haciendo uso de componentes de época.
