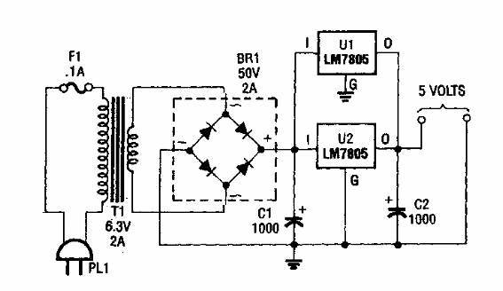
Este circuito se encontró en una Popular Electronics de los años 90. Está destinado a alimentar el filamento de viejas válvulas de radio en trabajos de recuperación. Está indicado para válvulas que utilizan 5 V de filamento.

Fuente de filamentos de válvula



