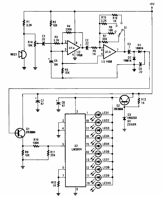
Este circuito con una escala de gráfico de barras se encontró en una Popular Electronics de los años 90. El circuito mide la intensidad de un sonido en tres escalas. R14 funciona como un ajuste de sensibilidad.

Medidor de nivel sonoro
Este circuito con una escala de gráfico de barras se encontró en una Popular Electronics de los años 90. El circuito mide la intensidad de un sonido en tres escalas. R14 funciona como un ajuste de sensibilidad.
