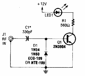
Este circuito se encontró en una Popular Electronics de los años 90. El circuito indica si un transmisor está funcionando, monitoreando su señal.

Indicador de RF
Este circuito se encontró en una Popular Electronics de los años 90. El circuito indica si un transmisor está funcionando, monitoreando su señal.
