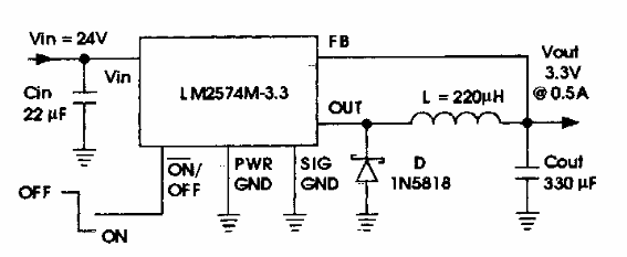
Encontrado en la documentación técnica de National Semiconductor, este circuito proporciona una tensión de 3.3 V con 500 mA en la salida. El componente es de la época.

Regulador llaveado de 24 V a 3.3 V
Encontrado en la documentación técnica de National Semiconductor, este circuito proporciona una tensión de 3.3 V con 500 mA en la salida. El componente es de la época.
