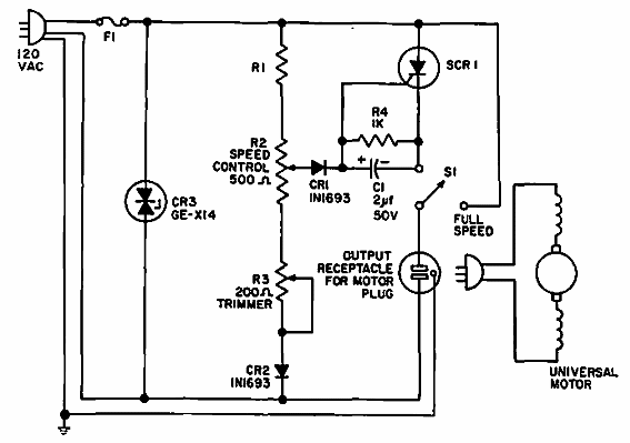
Este circuito se encontró en un manual de General Electric de 1968. El circuito es para motores de 3 A, pero se puede cambiar de acuerdo con el SCR utilizado. El SCR es del tipo 106 y R1 es de 10k.

Control universal del motor
Este circuito se encontró en un manual de General Electric de 1968. El circuito es para motores de 3 A, pero se puede cambiar de acuerdo con el SCR utilizado. El SCR es del tipo 106 y R1 es de 10k.
