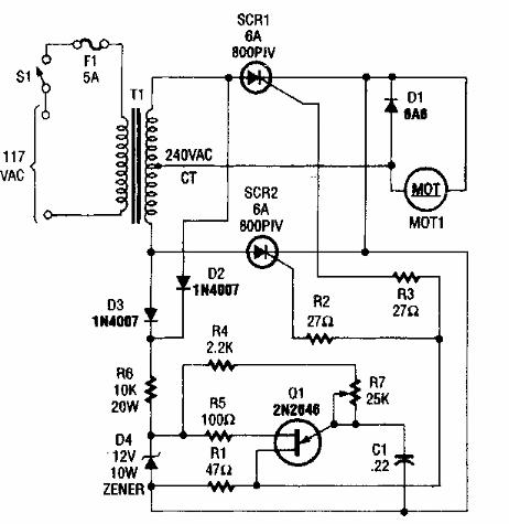
Encontrado en una electrónica popular de los años 90, este circuito de control SCR para motores de CC tiene una configuración inusual. El circuito utiliza SCR de acuerdo con la potencia del motor.

Control de motor llaveado
Encontrado en una electrónica popular de los años 90, este circuito de control SCR para motores de CC tiene una configuración inusual. El circuito utiliza SCR de acuerdo con la potencia del motor.
