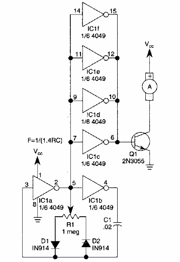
Este circuito para algunos ampères se encontró en una Radio Electronics de los años 90. El voltaje puede estar entre 6 y 25 V para el motor y entre 3 y 12 V para el CI.

Control PWM de motor
Este circuito para algunos ampères se encontró en una Radio Electronics de los años 90. El voltaje puede estar entre 6 y 25 V para el motor y entre 3 y 12 V para el CI.
