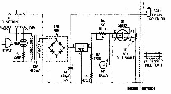
Este circuito indica cuando una lluvia es ácida al monitorear su pH. El circuito es de un RE Experimenter Handbook de los 90. Algunos componentes utilizados pueden ser difíciles de obtener hoy en día.

Monitor de lluvia ácida
Este circuito indica cuando una lluvia es ácida al monitorear su pH. El circuito es de un RE Experimenter Handbook de los 90. Algunos componentes utilizados pueden ser difíciles de obtener hoy en día.
