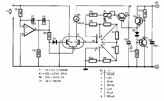
Encontrado en un 303 Circuits de los años 90, este circuito puede usar el rango de corriente más bajo de un multímetro común. El circuito puede medir corrientes de 100 pA en la escala más baja.

Amperímetro de baja corriente
Encontrado en un 303 Circuits de los años 90, este circuito puede usar el rango de corriente más bajo de un multímetro común. El circuito puede medir corrientes de 100 pA en la escala más baja.
