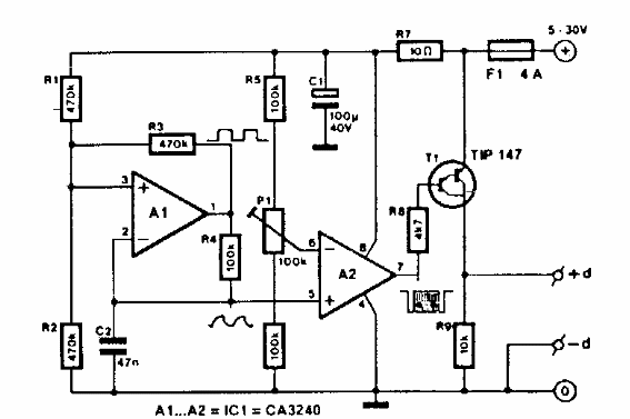
Este circuito se encontró en un 303 Circuits de los años 90. El circuito funciona en un modo de conmutación de 200 Hz y la corriente de salida alcanza 5 A.

Atenuador de baja tensión
Este circuito se encontró en un 303 Circuits de los años 90. El circuito funciona en un modo de conmutación de 200 Hz y la corriente de salida alcanza 5 A.
