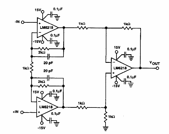
Sugerido por National con base en el LM6218, este circuito de los años 90 presenta características de alta velocidad con un producto de banda de paso x ganancia de 17 MHz. El circuito se puede adaptar para usar otros operacionales.

Amplificador para instrumentos de alta velocidad



