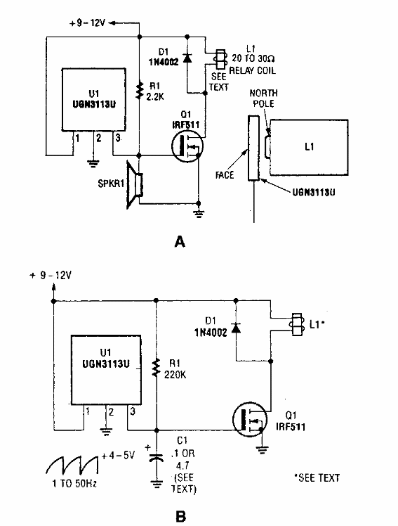
Este circuito utiliza un sensor hall en la retroalimentación de señales que producen oscilaciones. El circuito es de una Popular Electronics de los años 90 y se puede adaptar para usar diferentes sensores.

Oscilador con Sensor Hall
Este circuito utiliza un sensor hall en la retroalimentación de señales que producen oscilaciones. El circuito es de una Popular Electronics de los años 90 y se puede adaptar para usar diferentes sensores.
