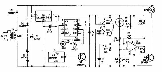
Encontrado en una Electronics Now desde los años 90, este circuito utiliza un sensor de la época, que es difícil de encontrar hoy en día. El circuito activa un zumbador de tipo Sonalert.

Detector de gas combustible
Encontrado en una Electronics Now desde los años 90, este circuito utiliza un sensor de la época, que es difícil de encontrar hoy en día. El circuito activa un zumbador de tipo Sonalert.
