Encontrado en un folleto estadounidense de los años 90, este circuito se puede ajustar para dejar frecuencias superiores de 30 a 300 Hz. El amplificador operacional puede ser el 741 además de otros.

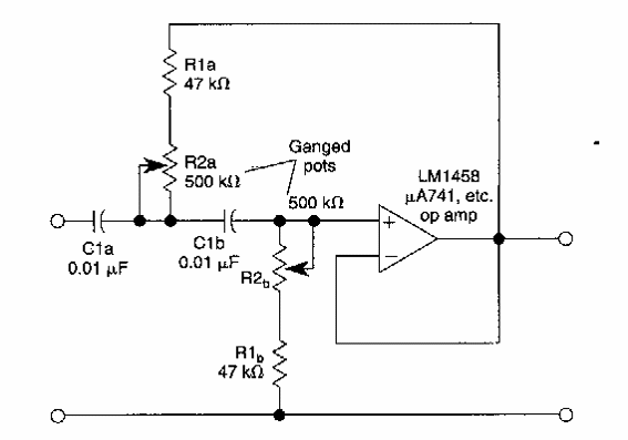
Filtro variable pasa altas
Encontrado en un folleto estadounidense de los años 90, este circuito se puede ajustar para dejar frecuencias superiores de 30 a 300 Hz. El amplificador operacional puede ser el 741 además de otros.
