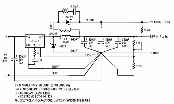
Este circuito se obtuvo en la documentación de Linear Technology de 1993. El circuito proporciona salidas de 3,3 V y 5 V con alta corriente. El circuito integrado es de la época.

Convertidor CC a CC con 2 salidas
Este circuito se obtuvo en la documentación de Linear Technology de 1993. El circuito proporciona salidas de 3,3 V y 5 V con alta corriente. El circuito integrado es de la época.
