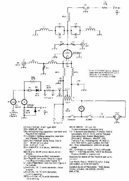
La fuente de alimentación para este circuito que se encuentra en una revista QST se proporciona en el circuito anterior. El circuito es valvulado y tiene una válvula de alta potencia. El montaje es crítico.

Amplificador lineal de 1200 W a 144 MHz
La fuente de alimentación para este circuito que se encuentra en una revista QST se proporciona en el circuito anterior. El circuito es valvulado y tiene una válvula de alta potencia. El montaje es crítico.
