Este circuito se encontró en la documentación de Texas Instruments de 1968. Los transistores son de esa época y admiten equivalentes modernos. La respuesta es de 20 a 20 000 Hz.

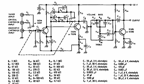
Amplificador RIAA compensado
Este circuito se encontró en la documentación de Texas Instruments de 1968. Los transistores son de esa época y admiten equivalentes modernos. La respuesta es de 20 a 20 000 Hz.
