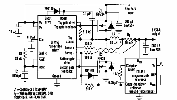
Encontrado en una Electronic Design de los años 90, este circuito no necesita sumideros para sus componentes. El circuito convierte la entrada de 8 a 12 V en una salida de 5 V x 3 A.

Convertidor de CC a C de 3 A
Encontrado en una Electronic Design de los años 90, este circuito no necesita sumideros para sus componentes. El circuito convierte la entrada de 8 a 12 V en una salida de 5 V x 3 A.
