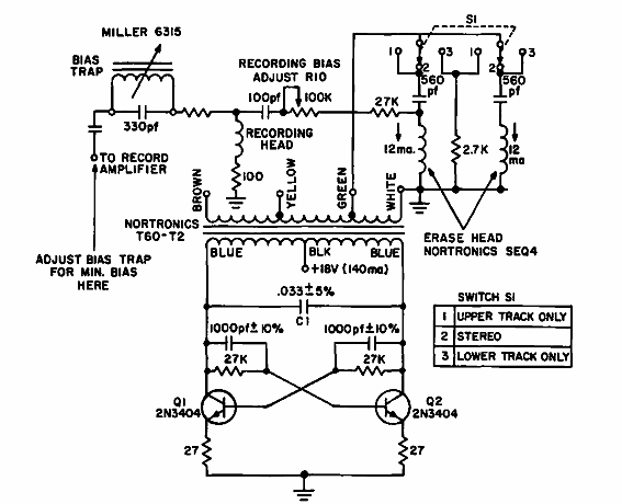
Este oscilador de 70 kHz se usa para borrar cintas en la pregrabación. El circuito es de la documentación de General Electric de 1968. Los componentes son de esa época, incluido el transformador que actualmente es difícil de obtener.

Oscilador borrador para grabar cintas



