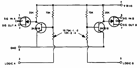
Encontramos este circuito en documentación estadounidense de 1969. Los FET admiten equivalentes, al igual que los transistores. El circuito se puede usar como shield.

Llave analógica dual con FET
Encontramos este circuito en documentación estadounidense de 1969. Los FET admiten equivalentes, al igual que los transistores. El circuito se puede usar como shield.
