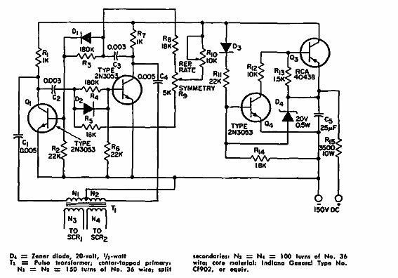
Encontrado en documentación RCA de la década de 1970, este circuito está diseñado para disparar tiristores en circuitos inversores. Los componentes son de la época y la frecuencia de funcionamiento es de 10 kHz.

Generador de disparo para inversores
Encontrado en documentación RCA de la década de 1970, este circuito está diseñado para disparar tiristores en circuitos inversores. Los componentes son de la época y la frecuencia de funcionamiento es de 10 kHz.
