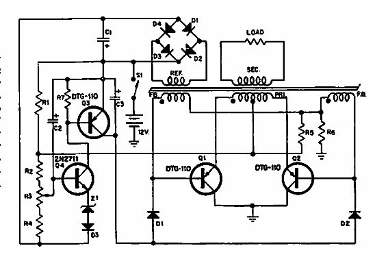
Este circuito se encontró en la documentación de Delco de 1966. Los componentes son de esa época. No se proporciona información sobre el devanado del transformador.

Inversor 12 x 115 VA con 10W
Este circuito se encontró en la documentación de Delco de 1966. Los componentes son de esa época. No se proporciona información sobre el devanado del transformador.
