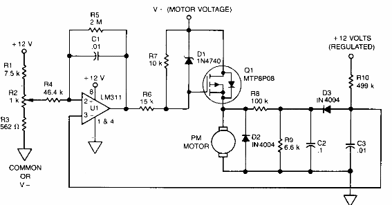
Este circuito se encontró en documentación de Motorola de los años 80. El MOSFET admite equivalentes de acuerdo con la corriente y la tensión del motor que debe controlarse.

Control de velocidad para motor PM
Este circuito se encontró en documentación de Motorola de los años 80. El MOSFET admite equivalentes de acuerdo con la corriente y la tensión del motor que debe controlarse.
