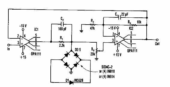
Este circuito fue encontrado en una vieja Electronic Design. Hace uso de sidacs y operacionales poco comunes hoy en día. La fuente de alimentación debe ser simétrica.

Limitador con un diodo zener
Este circuito fue encontrado en una vieja Electronic Design. Hace uso de sidacs y operacionales poco comunes hoy en día. La fuente de alimentación debe ser simétrica.
