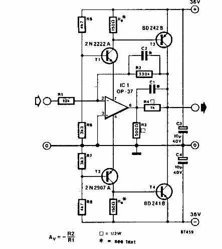
Este circuito fue encontrado en la antigua documentación estadounidense. Proporciona una señal de 70 Vpp a frecuencias de hasta 100 kHz. Observe la alta tensión de alimentación.

Amplificador de línea
Este circuito fue encontrado en la antigua documentación estadounidense. Proporciona una señal de 70 Vpp a frecuencias de hasta 100 kHz. Observe la alta tensión de alimentación.
