Este circuito se encontró en una publicación estadounidense de 1965. El circuito utiliza componentes de esa época. No se proporcionó información sobre el transformador de excitación. Observe la alta tensión de alimentación.

Pulsos de 1 000 V
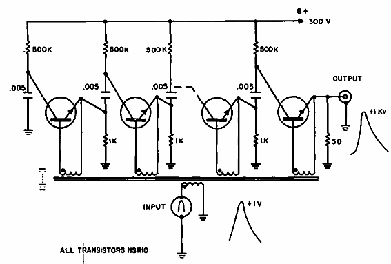
Este circuito se encontró en una publicación estadounidense de 1965. El circuito utiliza componentes de esa época. No se proporcionó información sobre el transformador de excitación. Observe la alta tensión de alimentación.
