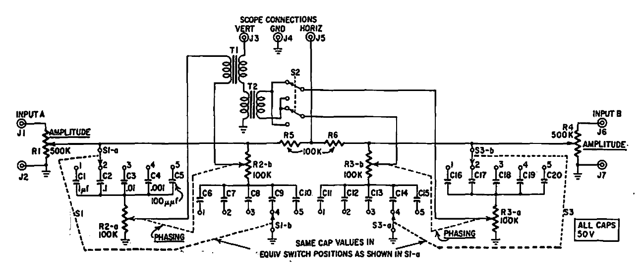
El propósito de este circuito de una Radio Electronics de 1965 es ayudar en la observación de formas de onda cicloides en un osciloscopio. El circuito usa solo componentes pasivos.
Este circuito fue obtenido en una revista Radio Electronics americana de abril de 1980. La revista ya...
He encontrado este circuito en un artículo de la revista Electronics Today International de julio...
El circuito presentado consiste en un interruptor de tacto biestable hecho en torno a transistores de...