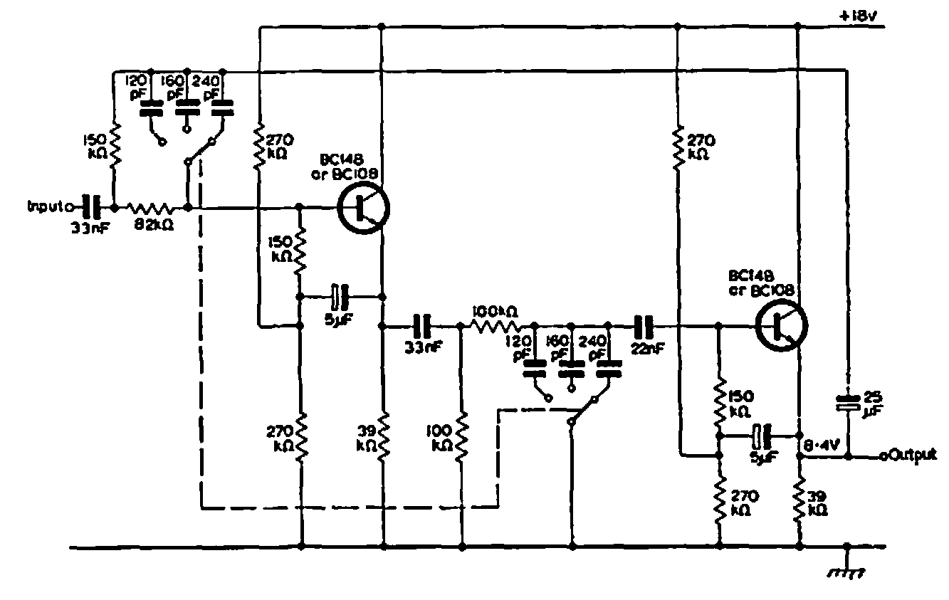
Encontramos este circuito en una documentación de Philips de 1969. Hace uso de transistores de la época que tiene el BC548 como su equivalente actual. El circuito tiene selección para frecuencias de 16, 12 y 7 kHz.

 

Filtro de ruido y rumble
Filtro de ruido y rumble | Haga click en la imagen para ampliar |