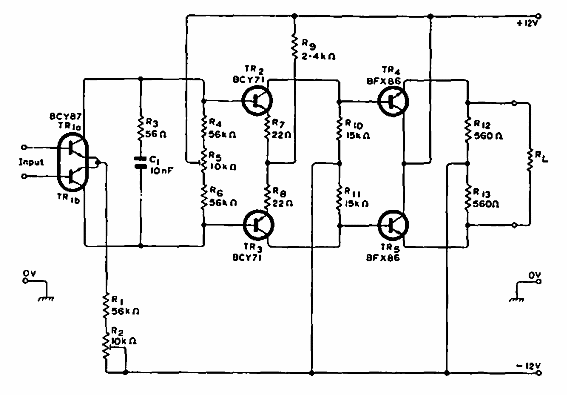
Encontrado en la documentación de Philips de 1968, este circuito funciona a frecuencias de hasta 10 MHz con una ganancia de 76 dB. El doble transistor puede ser reemplazado por una pareja casada.

Amplificador de ganancia 6500
Encontrado en la documentación de Philips de 1968, este circuito funciona a frecuencias de hasta 10 MHz con una ganancia de 76 dB. El doble transistor puede ser reemplazado por una pareja casada.
