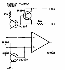
Este circuito se obtuvo de una documentación estadounidense de 1968. La corriente depende del operacional, observando que el circuito utiliza una fuente de alimentación simétrica.

Fuente de corriente constante con operacional
Este circuito se obtuvo de una documentación estadounidense de 1968. La corriente depende del operacional, observando que el circuito utiliza una fuente de alimentación simétrica.
