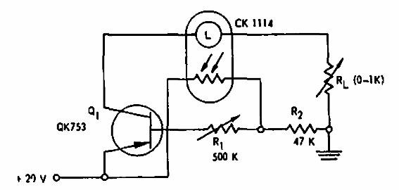
Sugerido por Raytheon en la documentación de 1967, este circuito utiliza una bombilla y un LDR en acoplador óptico de la época. El transistor determina la corriente máxima.

Regulador óptico de corriente
Sugerido por Raytheon en la documentación de 1967, este circuito utiliza una bombilla y un LDR en acoplador óptico de la época. El transistor determina la corriente máxima.
