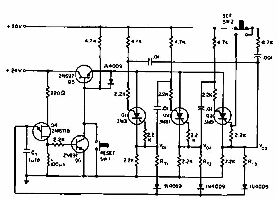
Este circuito de temporización variable se encontró en la documentación de General Electric de 1964. El circuito utiliza PUT que hoy son componentes poco comunes.

Contador en anillo con sincronización
Este circuito de temporización variable se encontró en la documentación de General Electric de 1964. El circuito utiliza PUT que hoy son componentes poco comunes.
