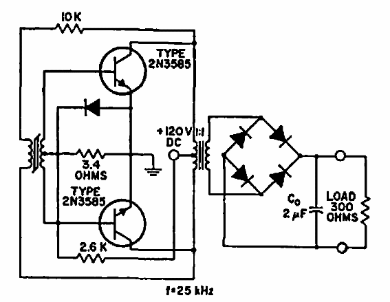
Este convertidor DC-DC se encontró en la documentación antigua de RCA. El circuito opera a 15 kHz. Las características de los transformadores no fueron indicadas.

Convertidor de 100 W
Este convertidor DC-DC se encontró en la documentación antigua de RCA. El circuito opera a 15 kHz. Las características de los transformadores no fueron indicadas.
