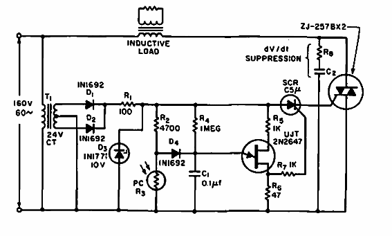
Nos encontramos este circuito en una Electronic Design de 1964. El triac y SCR puede sustituirse por equivalentes modernos de acuerdo con la la carga. El circuito es para la red de 160 V.

Regulador de potencia con Triac
Nos encontramos este circuito en una Electronic Design de 1964. El triac y SCR puede sustituirse por equivalentes modernos de acuerdo con la la carga. El circuito es para la red de 160 V.
