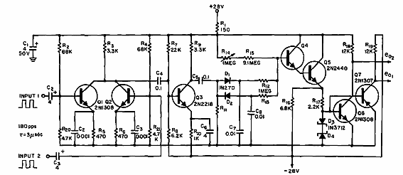
Encontrado en una Electronic Design de 1964, este circuito compara dos señales al proporcionar la inversa de la suma algebraica de sus frecuencias. El circuito se puede hacer con transistores equivalentes modernos.

Comparador algebraico
Encontrado en una Electronic Design de 1964, este circuito compara dos señales al proporcionar la inversa de la suma algebraica de sus frecuencias. El circuito se puede hacer con transistores equivalentes modernos.
