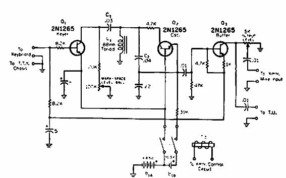
Encontrado en un CQ de 1964, este circuito está diseñado para transmisiones telegráficas de modulación de cambio de frecuencia de tono (FSK). Funciona con señales de 2.975 y 2.125 Hz.

Audio FSK
Encontrado en un CQ de 1964, este circuito está diseñado para transmisiones telegráficas de modulación de cambio de frecuencia de tono (FSK). Funciona con señales de 2.975 y 2.125 Hz.
