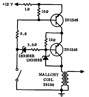
Este circuito de Motorola es de 1965. Las corrientes de colector deben ser de 7 y 12 A para los transistores. Se pueden usar equivalentes. El circuito es para autos de platino.

Encendido asistido de dos transistores
Este circuito de Motorola es de 1965. Las corrientes de colector deben ser de 7 y 12 A para los transistores. Se pueden usar equivalentes. El circuito es para autos de platino.
