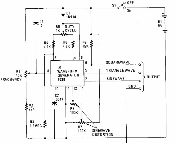
El circuito integrado 8038 no es muy común hoy en día. Es un circuito que genera señales de tres formas de onda, ampliamente utilizado en los años 80 en generadores de funciones como este que se encuentra en una publicación de la época.

Generador de forma de onda



