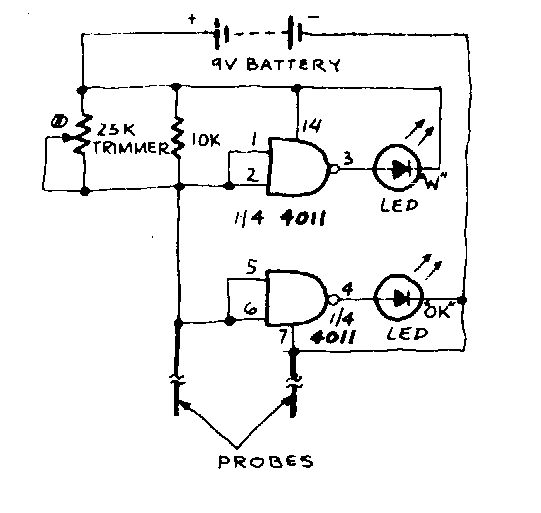
Este circuito monitorea la humedad de una maceta o lecho de planta, proporcionando indicación en dos LED. El circuito es de una vieja Radio Electronics.

Monitor de humedad de plantas
Este circuito monitorea la humedad de una maceta o lecho de planta, proporcionando indicación en dos LED. El circuito es de una vieja Radio Electronics.
