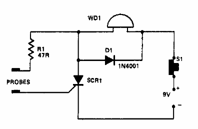
Este circuito se encontró en una publicación en inglés de los años 80. Activa un zumbador (con oscilador) cuando el agua toca las sondas del sensor.

Indicador de nivel de agua
Este circuito se encontró en una publicación en inglés de los años 80. Activa un zumbador (con oscilador) cuando el agua toca las sondas del sensor.
