Este VCO utiliza componentes de los años 80. El circuito se puede implementar con operacionales modernos. La fuente de alimentación debe ser simétrica.

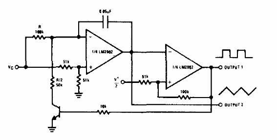
Oscilador controlado por tensión
Este VCO utiliza componentes de los años 80. El circuito se puede implementar con operacionales modernos. La fuente de alimentación debe ser simétrica.
