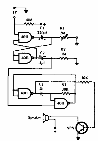
Esta configuración con 40011 es bastante común. Esto se obtuvo de una documentación estadounidense de los 80. La alimentación se puede suministrar con tensiones de 6 a 12 V.

Temporizador CMOS
Esta configuración con 40011 es bastante común. Esto se obtuvo de una documentación estadounidense de los 80. La alimentación se puede suministrar con tensiones de 6 a 12 V.
